Microsoft така и не представи свой сгъваем смартфон, въпреки многото спекулации. Всичко остана в сферата на прототипите със Surface Duo, но компанията вече гледа към следващата голяма стъпка – смартфон с три екрана.
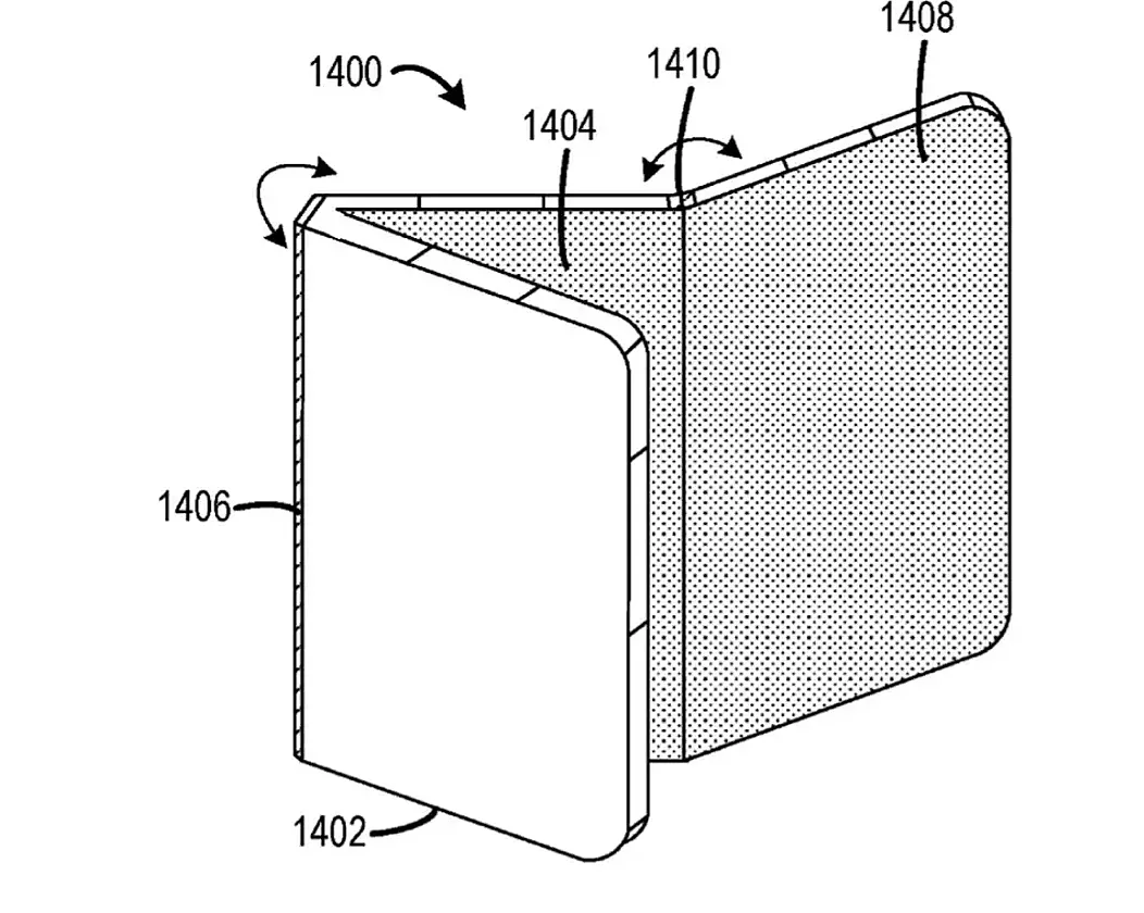
Журналисти откриха патент в САЩ, подаден от Microsoft, според който компанията разработва идеята за апарат, оборудван с три екрана. По същество концепцията надгражда плановете за Surface Duo с трети панел, свързан към един от екраните чрез втора панта.
По този начин потребителите получават още по-голям размер на екрана, когато устройството е напълно разгънато. Телефонът няма да е много по-голям от настоящите сгъваеми модели, тъй като трите панела ще се нареждат един върху друг. Идеята явно е устройство с размера на смартфон да се трансформира в 10-инчов таблет. На база на патента обаче трябва да се свърши още много инженерна работа, тъй като подобен апарат би бил твърде тежък и доста дебел, когато се сгъне.
Не е сигурно кога и дали изобщо бихме видели на пазара подобни устройства. Такива разработки имат и от други компании като най-близо до реалния продукт са TCL и Samsung, които създават и самите нагъващи се екрани. Подобен проект може да бъде забавен или дори отложен във времето заради твърде много пречки, една от които е и високата цена.
А тук ще намерите още технологични новини
Последвайте ни в Google News Showcase за важните новини
Вижте всички актуални новини от Standartnews.com
















